铠裝熱電偶GH3039-泰州盛達儀表科技有限公司
<dd id="cirxbqa_lfh4_b8"><kbd></kbd></dd>
<select id="t0ebm_5v4ox_b4mg"><sup id="7doz867_nh4_kttpjsu"></sup></select>

咨詢熱線

當前位置:首頁   >  産品中心   >  工業熱電偶   >  防震铠裝熱電偶   >  GH3039铠裝熱電偶

铠裝熱電偶

簡要描述: GH3039铠裝熱電偶一般可以測量0~1300℃範圍内的氣體、液體和蒸🧑🏽‍🎄汽👯🏾‍♂️及固體表面或内部溫度,可以配套數字儀表、記錄調節🔞儀表、PLC、數據采集器或計算機使用,作爲新一代的溫度傳 感器,它👯🏾‍♂️可廣泛用于冶ˇ金、石油、化工、電力、輕工、紡織、食品、國防及科研等各部🔞門。具有能👀彎曲、耐高壓、熱響應時間快和堅固耐用等優點

  • 産品型号: GH3039
  • 廠商性質: 生産廠家
  • 更新時間: 2024-05-11
  • 訪  問  量: 923

詳細介紹

品牌 盛達/ShengDa

铠裝熱電偶産品簡介

一、概述

    铠裝熱電偶是溫度測量中應用zui廣泛的溫度器件, 主要特點就是測溫範圍寬,性能比較穩定,同時結😺構簡單,動态響應好,更能夠遠傳4-20mA電信号,便于自動控制和集中控制。

二、産品标準

 熱響應時間不大于下表的規定:(s)

直 徑(mm)

熱電偶

絕緣式

接殼式

2.0

0.5

0.4

3.0

1.2

0.6

4.0

2.5

0.8

5.0

4.5

1.2

6.0

6.0

2.0

8.0

8.0

4.0

三、工作原理

是兩種不同成份的導體兩端經焊接,形成回路,直接測🧑🏽‍❤️‍💋‍🧑🏻溫端叫工作端,接線端子端叫冷端,也稱參比端。當工作端和參比端存在溫差時,就會在回路中⛹🏻‍♂️産生熱☠️電流,接上顯示👱🏼‍♂️儀表,儀表上就會指示出熱電偶所産生的熱電動勢的對應溫度值。 铠裝熱電偶 的熱電動勢将随着測量端溫度升高而增長,熱電動勢的大👿小隻和熱電偶導體材質以及兩端溫差有關,和熱電極🧑🏽‍🎄的長度、直徑無關。

産品結構

铠裝式熱電偶 和铠裝式熱電阻材料是由熱電極(導線)氧化鎂絕😗緣🏃🏿‍♀️‍➡️物👺和1Cr18Ni9Ti不鏽鋼管等經多次拉制形成。

1、料結構形式

2、測量端結構形式

測量端分絕緣式和接殼式兩種

四、安裝固定形式

固定裝置是供用戶安裝用。除無固定裝置産品外^,铠裝電偶、電阻有:固定卡套式,可動卡套式,固定法蘭式😘,可動😥法蘭式四種結構形式。固定卡套式是供用戶一次性固定使用👿,可動卡套式用戶可多次固定。

1、卡套螺紋接頭

铠裝熱電偶外徑d

8

6

5

4

4

3

2

固定裝置代号和尺寸

M

M16´1.5

M12´1.5

S

22

19

2、卡套法蘭盤

铠裝熱電偶外徑d

8

6

5

4

4

3

2

固定裝置代号和尺寸

D

Φ60

Φ50

D0

Φ42

Φ36

D1

Φ24

Φ20

S

22

19

d0

Φ9

Φ7

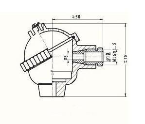
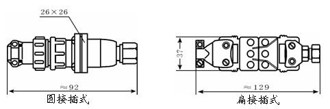
五、安裝自由端(接線盒)形式

接線盒供連接熱電偶的自由端和顯示儀表之用。目😌前有🙈簡易式、防水式、手柄式、接插式、補償導線式(延長導線式)等🙆🏿多種結構形式。

1、簡易式

2、補償導線式(延長導線式)

3、防水式

4、防噴式

5、手柄式

6、接插式

訂貨需知:

1、注明熱電偶型号、分度号、使用溫度範圍。

2、熱電偶點數、熱電偶保護管材質、直徑、長度等。(保護管總長L=l 150,特殊插入深度及其保護管材質可按協議定貨)

3、有緊固件、法蘭裝置的,需要提供先關尺寸。

産品咨詢

留言框

  • 産品:

  • 您的單位:

  • 您的姓名:

  • 聯系電話:

  • 常用郵箱:

  • 省份:

  • 詳細地址:

  • 補充說明:

  • 驗證碼:

    請輸入計算結果(填寫阿拉伯數字),如:三加四=7

聯系我們

泰州盛達儀表科技有限公司 公司地址:江蘇省泰州市海陵區工業園   技術支持:儀表網
  • 聯系人:宋工
  • QQ:2335909737
  • 公司傳真:
  • 郵箱:

掃一掃 更多精彩

微信二維碼

網站二維碼

<dd id="cirxbqa_lfh4_b8"><kbd></kbd></dd>
<select id="t0ebm_5v4ox_b4mg"><sup id="7doz867_nh4_kttpjsu"></sup></select>